
电化学除氧器的构造,有长方形和圆柱形两种。
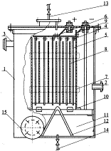
长方形的构造:放置在器体内的阴、阳极板分别用钢板和铝板(板上开有很多通水孔)制成,并通过阴、阳极板连接片与直流电源的负极和正极相接。当锅炉给水由给水进口进入除氧器,流经阴、阳极板上的通水孔时,水中的氧便与阳极铝板发生电化学腐蚀反应而被消耗掉;除过氧的水然后从给水出口流出。反应过程中产生的氢氧化铝沉淀物,聚积于器体下部沉淀室,可定期从手孔将其排除。需要检修和冲洗除氧器时,器体内的存水可从底部的排水管排掉。产生的氢气由顶部排气管排出。1-外壳;2-水入口;3-水出口;4-阳极连接板;5-阳极板;6-阳极连接片;7-阴极连接板;8-阴极板;9-阴极连接片;10-绝缘定位板;11-沉淀室;12-挡板;13-排气管;14-排水管;15-手孔。

圆柱形电化学除氧器的结构示意图,体内用钢管制成阴极,用铝棒制成阳极,两者之间形成的环状空间可让水流通过,使水中的氧与铝棒产生电化学腐蚀反应而被消耗掉。反应产生的氢氧化铝沉淀物沉积于下部的沉淀室;除过氧的水可从沉淀室上部的给水出口流出。1-水进口;2-铝棒阳极;3-钢管阴极;4-水出口;5-沉淀室。

北京益创企业现有除氧器、消声器、滤水器、胶球清洗、滤油机等环保产品. 辅机产品有:胶球、二次滤网、胶球清洗、胶球清洗装置、中央胶球清洗装置、除氧器、旋膜式除氧器、新型旋膜式除氧器及各种规格型号的节能降耗辅机产品。产品在国内外市场上享有良好的信誉,深受客户青睐、欢迎客户咨询订购 。选购电力辅机设备就找正规厂家北京益创环保科技有限公司
销售电话:王经理 18910163728 QQ:56571920